Nintendo Switch: VR-Headset und Preview-Tour bis März 2017
Nintendo besitzt ein Switch-Patent für ein VR-Headset. Gut möglich, dass man also in Zukunft auch VR-Spiele für die eigene Konsolen anbieten möchte.
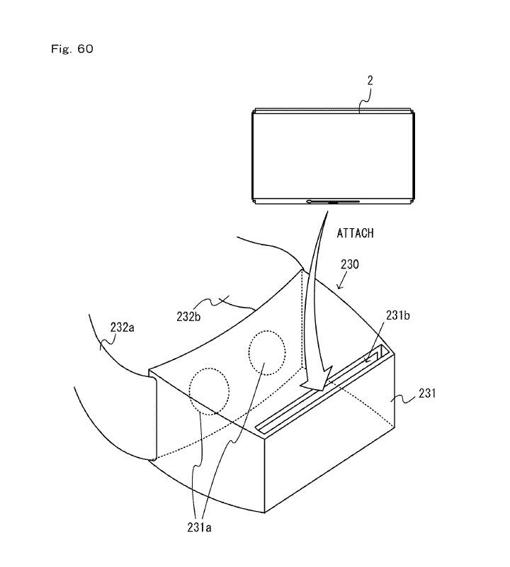
Die virtuelle Realität ist ein großes Thema im Moment, wegen der relativ teuren Hardware und der begrenzten Auswahl an Apps und Spielen würde ich aber sagen, dass VR noch keinen Durchbruch auf dem Massenmarkt erlebt hat. Falls es aber mal dazu kommen sollte, ist Nintendo vorbereitet. Zumindest kann man das anhand eines jüngst aufgetauchten Patents für ein Switch-VR-Headset vermuten.
So ein Patent bedeutet nicht, dass wir die Hardware auch sehen werden, aber bei Nintendo experimentiert man immerhin mit VR-Möglichkeiten. Die Switch würde sich, auch wenn die Displayauflösung vielleicht zu gering ist, gut für den VR-Einsatz eignen. Nachträglich ein VR-Headset auf den Markt zu bringen wäre möglich und wie sowas aussehen könnte, zeigen seit Monaten die Smartphone-Alternativen.
Switch-Preview-Tour 2017
Nintendo wird am 13. Januar die restlichen Details zur Switch lüften, das Thema VR dürfte auf dem Event aber noch keine Rolle spielen. Dafür hat sich Nintendo eine Preview-Tour für die Wochen nach dem Event ausgedacht. Diese startet direkt am 13. Januar in New York und endet am 5. März in Los Angeles. Die Tour findet nur in den USA statt. Mal schauen, ob auch andere Länder ähnliche Pläne haben.
Bei jedem Event wird man die Switch drei Tage lang testen können. Die ersten zwei Tage finden nur mit Einladung statt, der letzte ist jedoch für alle offen. Wobei man für einen exklusiven Eindruck der Switch vermutlich sehr viele Stunden anstehen muss. Vor allem in Städten wie New York wird das Interesse an ein paar Minuten mit der Switch bestimmt sehr groß sein. Hier sind die genauen Daten:
- New York: 13. bis 15. Januar
- Toronto: 27. bis 29. Januar
- Washington, DC: 10. bis 12. Februar
- Chicago: 17. bis 19. Februar
- San Francisco: 24. bis 26 Februar
- Los Angeles: 3. bis 5. März
Aktuell ist noch unklar, welche Spiele wir auf den Events sehen werden. Nintendo möchte diverse Launch-Titel zeigen. Die Switch könnte am 17. März erscheinen.
-->








Kommentarbereich jetzt laden