Apple iPad: Patent für Smart Cover mit zusätzlichem Display aufgetaucht
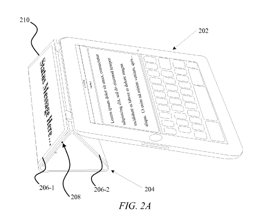
Es gibt mal wieder Neuigkeiten aus der Patent-Ecke von Apple, das Unternehmen aus Cupertino hat sich nämlich ein Smart Cover mit einem zusätzlichen Display patentieren lassen. Das Patent wurde schon vor einem Jahr eingereicht und erst heute öffentlich gemacht. Das flexible Display soll im Cover eingebaut sein und mit dem iPad selbst zusammenarbeiten, laut Apple würde es die Funktionen des Tablets „großartig aufwerten“. Die Möglichkeiten für ein solches Display sind groß, das erkennt man auch in den Dokumenten von Apple, und die nötige Leistung soll das Display im Smart Cover dann über einen Anschluss an der Seite des iPads erhalten. Ein Patent alleine heißt natürlich noch lange nicht, dass ein solches Produkt auch auf den Markt kommt, Apple hat aber immerhin an einer solchen Idee gearbeitet und vielleicht ist die Technik ja in ein paar Jahren bereit für diese Funktion.
-->









Kommentarbereich jetzt laden