iPad Pro: Apple Pencil könnte 2020 besser werden

Apple präsentierte mit dem iPad Pro 2018 endlich einen neuen Pencil, den man überarbeitete und den man magnetisch am iPad anbringen und ihn somit auch laden kann. 2020 könnte das nächste Upgrade für den Stift anstehen.
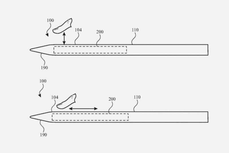
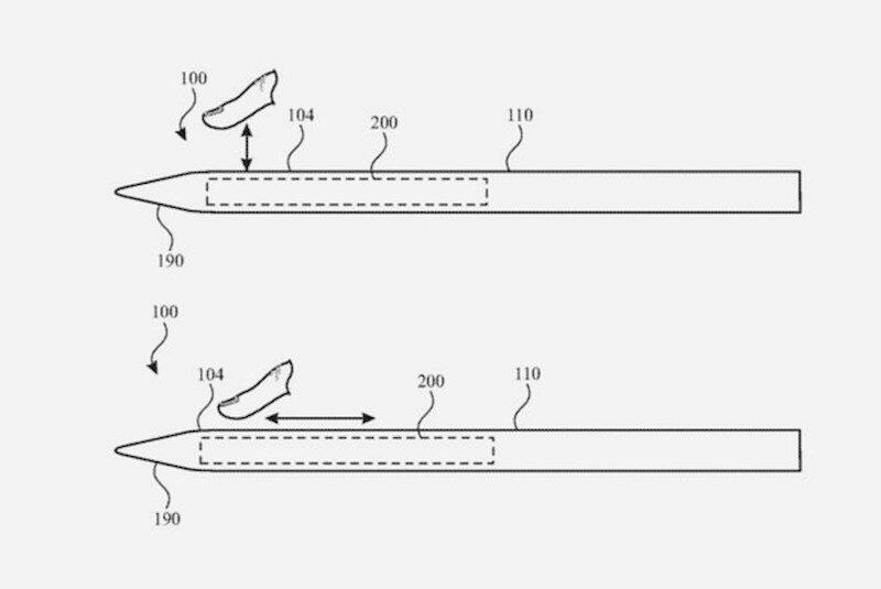
Wie wir mittlerweile wissen, dürfte im Frühjahr ein neues iPad Pro kommen und mit diesem gibt es womöglich auch einen neuen Apple Pencil. Ein Patenteintrag von Apple deutet darauf hin, dass der Pencil mit Touch-Support kommt.
Heißt: Man wird vielleicht bestimmte Gesten auf der Fläche vom Apple Pencil ausführen können. Und womöglich gibt es auch Schnittstellen für Entwickler, die dann spezielle Features in ihre Apps für den Apple Pencil bauen können.
Klingt nach einer guten und logischen Idee, auch wenn man bei Patenteinträgen wie immer anmerken muss: Sowas kann kommen, muss aber nicht. Alles, was wir wissen: Apple hatte diese Idee. In diesem Fall klingt das aber sinnvoll.












Kommentarbereich jetzt laden